特种设备使用登记“一件事”服务指南
一、场景名称
特种设备使用登记“一件事”。
二、适用范围
适用于青岛西海岸新区特种设备施工单位办理安装改造维修告知、申请特种设备检验和特种设备使用单位办理使用登记的行为。
三、涉及办理事项
(一)特种设备安装改造维修告知;
(二)申请特种设备检验(监督检验、首次检验);
(三)特种设备使用登记。
四、实施机构
青岛西海岸新区市场监督管理局(受青岛市市场监督管理局委托,接收西海岸新区范围内特种设备安装改造维修告知;受青岛市行政审批服务局委托,办理西海岸新区范围内特种设备使用登记)
青岛市特检院(特种设备检验)
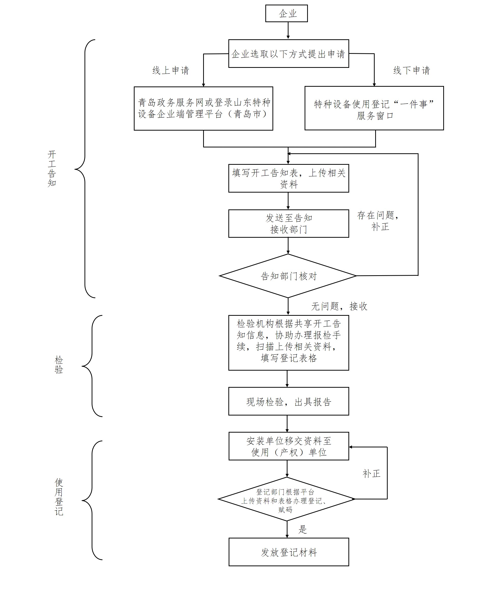
五、办理流程
1.流程一

备注:本流程适用于需要办理开工告知、检验、使用登记三个环节的特种设备,如锅炉、现场焊接压力容器、压力管道、电梯、起重机械(无需安装的除外)、大型游乐设施、客运索道等。
2.流程二

备注:本流程适用于无需办理开工告知,仅需检验、使用登记两个环节的特种设备,如场(厂)内机动车辆、流动式起重机等。
3.流程三

备注:本流程适用于无需安装监督检验(首次检验),仅需开工告知、使用登记两个环节的特种设备,如无需现场焊接的压力容器。
六、申请材料
见附件1:特种设备使用登记“一件事”材料清单
七、办理形式
(一)线上办理
申请人登录青岛政务服务网或山东特种设备企业端管理平台(青岛市),选择所需办理业务,根据系统提示填报信息。详见附件2、3。
(二)线下办理
申请人携带纸质申请材料到西海岸新区特种设备使用登记“一件事”服务窗口,协助指导办理。
八、线下办理地点及咨询电话
|
区市 |
线下办理地点 |
咨询电话 |
工作时间(工作日) | |
|
西海岸新区 |
山东省青岛市黄岛区滨海大道627号 慧丰国际一楼特种设备登记服务大厅1-5号窗口 |
“一件事” |
86885228 |
上午9:00—12:00 下午13:30—17:00 |
|
压力容器 锅炉 压力管道 |
86976286 | |||
|
电梯 客运索道 大型游乐设施 |
86890815 | |||
|
起重机械 场(厂)内专用机动车辆 |
66076141 | |||
九、收费标准及依据
告知、登记不收费;检验按照《关于重新明确特种设备检验检测收费标准等问题的通知》(鲁发改价格〔2023〕502号)核收。
十、快递物流
西海岸新区提供物流到付,收费标准根据物流公司价格表。
附件3:特种设备使用登记“一件事”企业操作说明书(青岛).docx
附件加载中...