各大功能区管委
各镇人民政府,各街道办事处,灵山岛省级自然保护区管委,管委各部门,区直有关单位,驻区各单位:
《青岛西海岸新区工业厂房“竣工即投产”改革实施方案(试行)》已经管委区政府同意,现印发给你们,请结合实际认真贯彻落实。
青岛西海岸新区管委办公室
2024年5月16日
(此件主动公开)
青岛西海岸新区工业厂房“竣工即投产”
改革实施方案(试行)
为深化工程建设项目审批制度改革,进一步优化营商环境,创新审批方式,提高审批效率,有效推动工业厂房建设项目“早竣工、早投产”,助力全区经济高质量发展,现结合我区实际,制定本方案。
一、工作目标
以习近平新时代中国特色社会主义思想为指导,全面落实省市区优化政务服务提升行政效能工作要求,在审批标准不降低、审批事项不减少前提下,通过优化流程、提前介入、并联审批,强化对项目建筑施工、验收的全流程跟踪与事中事后监管,探索以“告知承诺”形式明确权责,实现预验试运行、竣工即投产,有效缩短竣工与投产时间差,最大程度让企业早投产、早受益。
二、工作内容
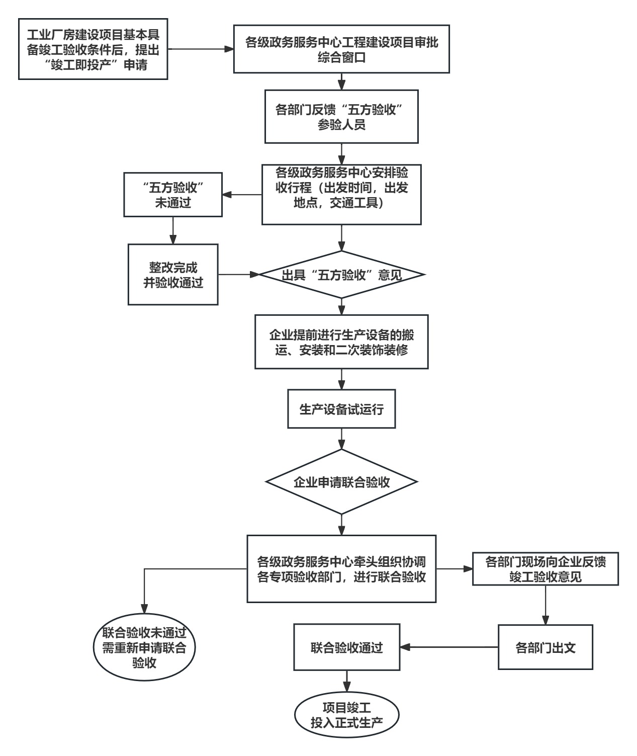
“竣工即投产”是指工业厂房建设项目基本具备竣工验收条件后(按照施工图纸要求完成施工合同内容并主体验收合格,如:外立面已完成、底部管网已完成、混凝土已浇捣并具备强度要求等),企业向各级政务服务中心工程建设项目审批综合窗口(以下简称综合窗口)申请竣工验收前指导服务,并提交相关申请资料。经审核通过后,由各级政务服务中心牵头组织相关部门同步参与建设单位组织的“五方验收”,并根据“五方验收”情况明确建设单位是否可以进行二次装修、生产设备安装、试运行等。“五方验收”合格、相关部门同意后,企业承诺不变动主体结构、平面布局和使用功能的前提下,可以提前进行生产设备的搬运、安装和二次装饰装修(属特殊建设工程的应通过消防设计审查合格,属其他建设工程应提供满足施工需要的消防设计图纸及技术资料)。符合应急、消防、特种设备等安全生产条件的,企业可以对生产设备试运行,以检验其是否满足正常生产需求。企业向综合窗口申请联合验收,再由各级政务服务中心牵头组织协调各专项验收部门,进行联合验收,各部门现场向企业反馈竣工验收意见,实现项目竣工即可投入正式生产。
三、适用范围
“竣工即投产”适用于青岛西海岸新区内新建、改建、扩建和迁建的一般性工业厂房项目。存在如下情形的不得纳入清单:
(一)涉及重大社会稳定风险、重大环境影响的项目。
(二)矿山、金属冶炼建设项目和用于生产、储存、装卸危险物品的建设项目。
(三)因违反信用承诺已列入黑名单的建设单位所投资的项目。
(四)被列入黑名单信用不良的建筑企业所承建的工业项目。
(五)行业主管部门认为不适宜的其他项目。
四、基本原则
(一)自愿申请原则。建设单位自愿申请“竣工即投产”,并签订相关承诺。
(二)一窗受理原则。建设单位通过综合窗口提交申请表(附件1)和承诺书(附件2)。综合窗口统一受理和反馈整改意见。
(三)联合办理原则。各级政务服务中心牵头自然资源、住建(含消防、质量监督、档案管理验收)、行政审批、城市管理等部门同步参与建设单位组织的“五方验收”,并依据各自职责完成相关工作。
(四)限时办结原则。针对建设单位申请,各部门在1个工作日内出具相关意见;需要建设单位整改的,现场提出具体整改意见,整改完毕后及时组织复查。
五、支持事项
(一)支持分栋分段验收。在符合项目整体质量安全要求、达到安全使用条件前提下,对已满足使用功能的单位工程可采用先行介入预验收方式。单位工程预验收合格后,可提前开展设备安装或二次装修工作,预验收合格部分,条件允许情况下应转为正式合格的依据。参建单位对砼龄期已达到要求的部位,做到成熟一段、检测一段、验收一段。区住建局在分栋、分段验收过程中实施全过程监督检查。分栋分段验收需满足以下条件:
1.具备独立使用功能;
2.消防、人防、给排水、供电等功能完整;
3.完成设计文件和相关施工合同内容;
4.具有独立完整的工程档案;
5.未在施工过程中出现质量问题被责令停工、立案处罚情形;
6.设备安装或二次装修装饰不得改变消防预验收合格部分的火灾危险性、主体和承重结构安全、使用功能、平面布置,不得影响消防设施正确使用。
(二)支持提前开展装饰装修工程施工。工业项目根据主体结构楼层施工完成情况,相应楼层位置的混凝土浇捣时间、混凝土和砂浆砌体检测试验强度满足设计及规范要求(应确保新建建筑物、构筑物主体结构质量合格,原有建筑物、构筑物未存在结构安全隐患),且已落实施工安全保障措施的,允许装饰装修工程提前施工。具体应符合以下要求:
1.完善装饰装修工程报建手续。若办理工程报建手续时已包含装饰装修工程内容,施工单位无需再办理装修施工手续。若报建时未包含装饰装修工程内容,建设单位应按流程提前申请办理施工许可证,将装饰装修工程纳入监管。
2.做好装饰装修工程施工准备。提前装饰装修施工应视为危险性较大的分部分项工程,具备开工手续后,建设单位要组织有关单位根据《青岛市房屋建筑施工危险性较大分部分项工程安全管理实施细则》编制装饰装修专项施工方案,明确安全保障措施和人员管理要求,按流程审批、审查合格后严格实施。
3.规范装饰装修工程施工管理。若施工总包单位签订的施工合同已包含装饰装修工程内容,可直接按合同开展施工。若由其他施工单位实施的,装饰装修工程施工单位应与施工总包单位签订装饰装修工程分包合同,并接受施工总包单位的安全生产管理。
(三)支持提前进场安装生产设备。工业厂房“竣工即投产”申请通过后,生产设备可提前进场安装。具体应符合以下要求:
1.严格落实各方安全生产责任。建设单位要切实履行现场安全生产首要责任,压实施工单位、监理单位、生产设备安装单位、使用单位主体责任,明确安全生产管理职责,指定专职人员进行安全检查和协调。建设单位、施工单位、设备安装单位要加强生产设备安装过程中涉及的交叉作业、有限空间作业、动火作业、高处作业、起重吊装作业和用电作业等方面安全管理,建设单位应对现场作业进行全面统筹并组织落实各项安全防护措施。生产设备安装单位在土建工程范围内的施工人员及场地要统一接受土建施工单位管理,对不服从管理且存在安全隐患的,土建施工单位应告知建设单位立即停止安装,待整改符合要求并消除安全隐患后方可继续安装。
2.签订生产设备提前安装承诺书。建设单位须承诺在生产设备安装时,严格按照施工图纸进行施工,确保安全。如前期已结合设备安装进行施工图纸优化设计变更,不得擅自对工程主体结构、消防设施设备、环保设施、平面布局和使用功能等进行改动,并签订承诺书。
六、服务事项
(一)自然资源部门:负责建设工程竣工规划条件核实、不动产证登记。
(二)住建部门:负责安全监督(不含设备安装)、质量监督、消防验收(备案)、档案验收。
(三)城管部门:负责配合做好项目用气前期市政报批手续及市政管线部分竣工验收
(四)卫健部门:负责建设项目职业病防护设施竣工验收。
(五)行政审批部门:负责人防工程竣工验收备案、工程竣工验收备案;协调职能部门为项目开展“竣工即投产”工作。
(六)市场监管部门:负责办理特种设备使用登记证。
(七)生态环境部门:负责指导建设单位依法依规开展竣工环境保护自主验收。
(八)气象部门:负责雷电防护装置竣工验收。
(九)供电部门:负责项目用电前期报批及用电涉网部分竣工验收。
七、工作要求
(一)加强组织领导。推行工业厂房“竣工即投产”改革是提升我区政务服务水平,优化营商环境的有效措施,相关部门要充分认识该项工作的重要意义,通力协作,形成合力。区行政审批局和区住房城乡建设局要发挥牵头抓总作用,推进各项工作任务落到实处。相关部门要按照实施方案的要求,及时做好任务分解,担当履责,主动介入、协调联动、形成合力,确保该项改革高效落地、顺利推进。
(二)加强工作保障。要加强队伍建设,充分发挥新区工程建设项目审批“金牌团队”优势,做好一线人员培训指导,确保履责到位;要加强制度保障,根据本方案要求,细化本部门相关工作制度,确保机制良好运行;要加强技术保障,充分利用新区工程建设项目审批服务直通车,积极为企业提供项目审批、验收、监管等方面的咨询服务和技术指导,帮助意向企业尽快达到预验收条件。对在改革推进中因非主观原因出现工作失误的,按照中共青岛市黄岛区纪律检查委员会、青岛市黄岛区监察委员会《〈关于开展先行先试担当作为风险备案工作的实施办法(试行)〉等激励干部担当作为三项制度的通知》(青黄纪发〔2023〕6号)予以容错免责;对推进改革有亮点举措、成效显著的,在政务服务年度考核中酌情予以加分。
(三)强化责任落实。各验收职能部门要全面推行“双随机、一公开”监管,加大监督检查力度,严肃查处违法违规行为。对于实行“承诺制”的事项,验收部门应当在规定时间内对申请人履行承诺的情况进行重点检查,对申请人未履行承诺的,及时督促其停止生产设备试运行并立即整改。同时将申请企业的承诺兑现情况记入企业主体信用档案,将企业和从业人员违法违规、不履行承诺的不良信息推送至青岛市信用信息综合服务平台。建设单位主要负责人要切实履行安全生产第一责任人责任,对项目安全生产工作全面负责,并督促土建施工单位、监理单位、生产设备安装单位、使用单位严格落实安全生产责任。建设工程质量安全部门应根据已审查合格的工程设计图纸,对装饰装修工程加强质量安全监管。
(四)加强宣传推广。各部门要采用集中培训、专题培训等方式,加强对相关工作人员和建设单位政策解读和辅导,提高政策知晓率。要加强改革方案实施过程中的调研总结,结合实际持续丰富和完善“竣工即投产”改革举措,探索推动扩大“竣工即投产”改革受惠面。各部门要及时总结、宣传改革推进中的好做法好经验,让更多企业感受改革带来的红利。
本方案自2024年5月16日起施行,有效期至2026年5月16日。由区行政审批服务局负责解释。
附件:1.青岛西海岸新区“竣工即投产”工作推进专班人员名单及服务事项
2.青岛西海岸新区工业厂房“竣工即投产”申请表
3.青岛西海岸新区工业厂房项目提前安装生产设备承诺书
4.青岛西海岸新区工业厂房“竣工即投产”流程图
附件1
青岛西海岸新区“竣工即投产”工作
推进专班人员名单及服务事项
|
|
单位名称 |
姓名 |
服务事项 |
|
组长 |
区行政审批局 |
庄 鑫 |
负责统筹推进全区“竣工即投产”改革相关工作 |
|
成员 |
区自然资源局 |
皇甫超群 高玉龙 |
负责建设工程竣工规划条件核实 负责不动产证登记 |
|
区住建局 |
李建军 李 翔 周茂文 徐森田 |
负责安全监督(不含设备安装) 负责质量监督 负责档案验收 负责消防验收(备案) | |
|
区城市管理局 |
王一凡 |
负责配合做好项目用气前期市政报批手续及市政管线部分竣工验收 | |
|
区卫生健康局 |
井夫华 |
负责建设项目职业病防护设施竣工验收 | |
|
区行政审批局 |
杨兆明 王振华 |
负责人防工程竣工验收备案、工程竣工验收备案 负责协调职能部门为项目开展“竣工即投产”工作 | |
|
区市场监管局 |
李明芹 |
负责办理特种设备使用登记证 | |
|
市生态环境局西海岸新区分局 |
董治辉 |
负责指导建设单位依法依规开展竣工环境保护自主验收 | |
|
区气象局 |
代 琦 |
负责雷电防护装置竣工验收 | |
|
区供电公司 |
李 刚 |
负责项目用电前期报批及用电涉网部分竣工验收 | |
|
|
单位名称 |
姓名 |
服务事项 |
|
成员 |
青岛开发区 |
狄纪宝 |
负责统筹推进辖区内“竣工即投产”改革相关工作 |
|
董家口经济区 |
潘圣佳 |
负责统筹推进辖区内“竣工即投产”改革相关工作 | |
|
国际经济合作区 |
李 磊 |
负责统筹推进辖区内“竣工即投产”改革相关工作 | |
|
古镇口核心区 |
朱迪全 |
负责统筹推进辖区内“竣工即投产”改革相关工作 | |
|
灵山湾文化区 |
薛姗姗 |
负责统筹推进辖区内“竣工即投产”改革相关工作 | |
|
海洋高新区 |
段雪亮 田祥家 |
负责统筹推进辖区内“竣工即投产”改革相关工作 | |
|
现代农业示范区 |
庄延良 |
负责统筹推进辖区内“竣工即投产”改革相关工作 | |
|
交通商务区 |
高玉华 纪骁轩 |
负责统筹推进辖区内“竣工即投产”改革相关工作 | |
|
泊里镇 |
王 亮 薛荣涛 |
负责统筹推进辖区内“竣工即投产”改革相关工作 |
附件2
青岛西海岸新区工业厂房“竣工即投产”申请表
|
申请单位: |
|
申请日期 : |
| ||||
|
联系人: |
|
联系方式: |
| ||||
|
申请事项: |
£分栋分段验收£装饰装修工程施工£安装生产设备 | ||||||
|
拟“五方验收”时间: |
|
地点: |
| ||||
|
“五 方 验 收” 意 见 |
单位 |
意见 |
签字 | ||||
|
建设单位: |
|
| |||||
|
施工单位: |
|
| |||||
|
监理单位: |
|
| |||||
|
设计单位: |
|
| |||||
|
测绘单位: |
|
| |||||
|
相 关 部 门 意 见 |
单位 |
意见 |
签字 | ||||
|
自然资源局 |
|
| |||||
|
住建局 |
|
| |||||
|
城管局 |
|
| |||||
|
行政审批局 |
|
| |||||
|
备注 |
1.申请时“五方验收意见”、相关部门意见无需填写。 2.申请表申请时需要一式五份,并加盖公章。 | ||||||
附件3
青岛西海岸新区工业厂房项目
提前安装生产设备承诺书
我单位建设的项目,(项目地址: ),为促进项目早投产,根据《青岛西海岸新区工业厂房“竣工即投产”改革实施方案》,申请该项目进行“竣工即投产”,我单位现就相关事宜作出如下承诺,并承担相关法律责任:
1.确保厂房已按照土地出让合同、建设工程规划许可、施工许可等审批要求完成厂房主体结顶、水电等相关工程,并已通过主体结构验收。内部建筑平面布置、防火分隔、安全疏散等建筑消防指标符合国家建设工程消防技术标准的有关要求,无违法违建行为。已随工程建设进度将全部工程文件收集齐全、整理立卷,并已在青岛市建设工程档案在线接收系统提报了工程档案。
2.在生产设备试运行过程中,保证不变动主体结构、平面布局和使用功能,同时落实生产设备试运行过程中的各项安全措施。
3.在生产设备试运行过程中,自觉接受有关部门监督,及时做好各类问题整改。生产设备试运行过程中要严格按规范操作实施,此期间产生的各类问题或涉及安全事故等方面,均由我单位负责解决并承担责任。
4.我单位将尽快完成场外配套等后续建设工程,确保工程质量和施工安全,并在预验收通过之日起3个月内完成竣工验收备案,否则监管部门有权停止项目生产设备试运行。
5.容缺的各类专项检测及竣工资料在申报竣工验收前予以补齐。
6.我单位将积极配合监管部门按照项目审批、验收、监管等方面的指导要求做好项目生产设备试运行的相关工作。
我单位承诺对以上内容真实性负责,若不履行承诺或者在履行承诺过程中存在隐瞒、欺诈行为的,监管部门可以责令我单位整改或者停止生产设备试运行。我单位如有违法行为,可以依法追究我单位相关法律责任,由此造成项目竣工验收不通过的,相应损失及后果由我单位自行承担。
本承诺一式两份,双方各持一份,监管部门所持原件由区行政审批服务局存档,其他部门留存复印件。
建设单位(公章): 法定代表人(签章):
年 月 日
附件4
青岛西海岸新区工业厂房“竣工即投产”
流程图


